
倘若您有什么疑問或是對我公司有任何
的意見和建議都可通過:
的意見和建議都可通過:
公司名稱: 鞏義市西村鎮華豐給排水材料廠
公司地址: 河南省鞏義市西村開發區
電話: 0371-64033589
手機: 18638168566,13683712868
13783416000(技術)
聯系人: 王先生,位女士
郵政編碼: 451200
E-MAIL: 1696257948@qq.com
網址:http://www.lenve.net.cn/
網址:http://www.lenve.net.cn/
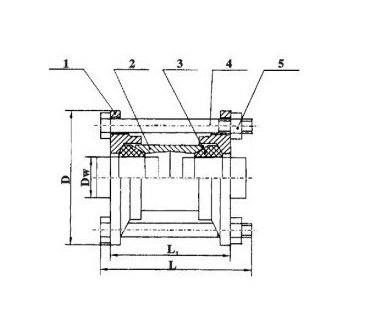
SSJB(AY)型壓蓋式松套伸縮接頭
標簽:該產品可按照客戶要求訂做,如需訂做請向客服提供您的參數表
華豐竭誠為您服務,熱線電話0371-64033589


型號:SSJB型
我公司是生產SSJB型壓蓋式松套伸縮接頭的企業,本廠擁有各種成型設備、自動化伸縮接頭生產線和完善的實驗和檢測設備,實行全方位全過程的質量控制。我們以“品質盡善盡美,服務盡心盡力”為指導思想。為用戶提供優質的產品和良好的服務。本廠生產的SSJB型壓蓋式松套伸縮接頭,設計獨特、結構新穎合理,質優價廉。
性能特點:SSJB-3型壓蓋式松套限位伸縮接頭是在松套伸縮接頭原有的基礎上,增設限位裝置,在*大伸縮量處用雙螺母鎖定。這樣就實現管道在允許的伸縮量中可以自由伸縮,一旦超過其大伸縮量,就起到限位作用,有效的確保管道的安全運行,特別適用于有振動或一定斜度及在拐彎的管路中連接。
安裝說明:
SSJB(AY)型壓蓋式松套伸縮接頭適用于兩邊與管子插接,無需焊接,機構合理,密封可靠,安裝快捷方便。
適用范圍:
壓蓋松套伸縮接頭適合連接輸送水,油,氣及顆粒粉狀物的鋼管,鑄鐵管,球墨鑄 鐵管,PVC管,ABS管等,壓蓋松套伸縮接頭在連接管子的同時能補償管道一定范圍內的軸向位移及撓曲,偏心.壓蓋式松套伸縮接頭適用于輸送海水、淡水、冷熱水、飲用水、生活污水、原油、燃油、潤滑油、成品油、空氣、煤氣、溫度不高于250度的蒸汽和顆粒粉狀等介質。
相關參數:
連接方式:壓緊式
工作壓力:0.6-1.6MPA
公稱通經:65-4000mm
使用介質:水、污水。
使用溫度:常溫
密封材料:NBR
制造標準:GB/T12465-2002
參數表
更多產品詳情可來電咨詢
參數表
公稱通徑 | ||||||||
0.25-1.6 | ||||||||
更多產品詳情可來電咨詢
聯系人:王先生 13783416000 魏女士 13683712868
版權所有:華豐管道 地址:河南省鞏義市西村開發區 服務熱線:0371-64033589 管理入口E-MAIL: 1696257948@qq.com 手機: 18638168566,13783416000
網站備案/許可證號: 豫ICP備11026537號-5
豫公網安備 41910102000259號 技術支持:鞏義開啟網絡
本網站支持新廣告法,為不影響客戶瀏覽,頁面區域用詞正在排查修改,本店所有頁面絕對化用詞和功能性用詞在此聲明前全部失效,不接受不妥協任何形式的絕對化用詞和功能性用詞賠付,希望各位消費者理解,職業打假人高抬貴手。 網站備案/許可證號: 豫ICP備11026537號-5
豫公網安備 41910102000259號 技術支持:鞏義開啟網絡
